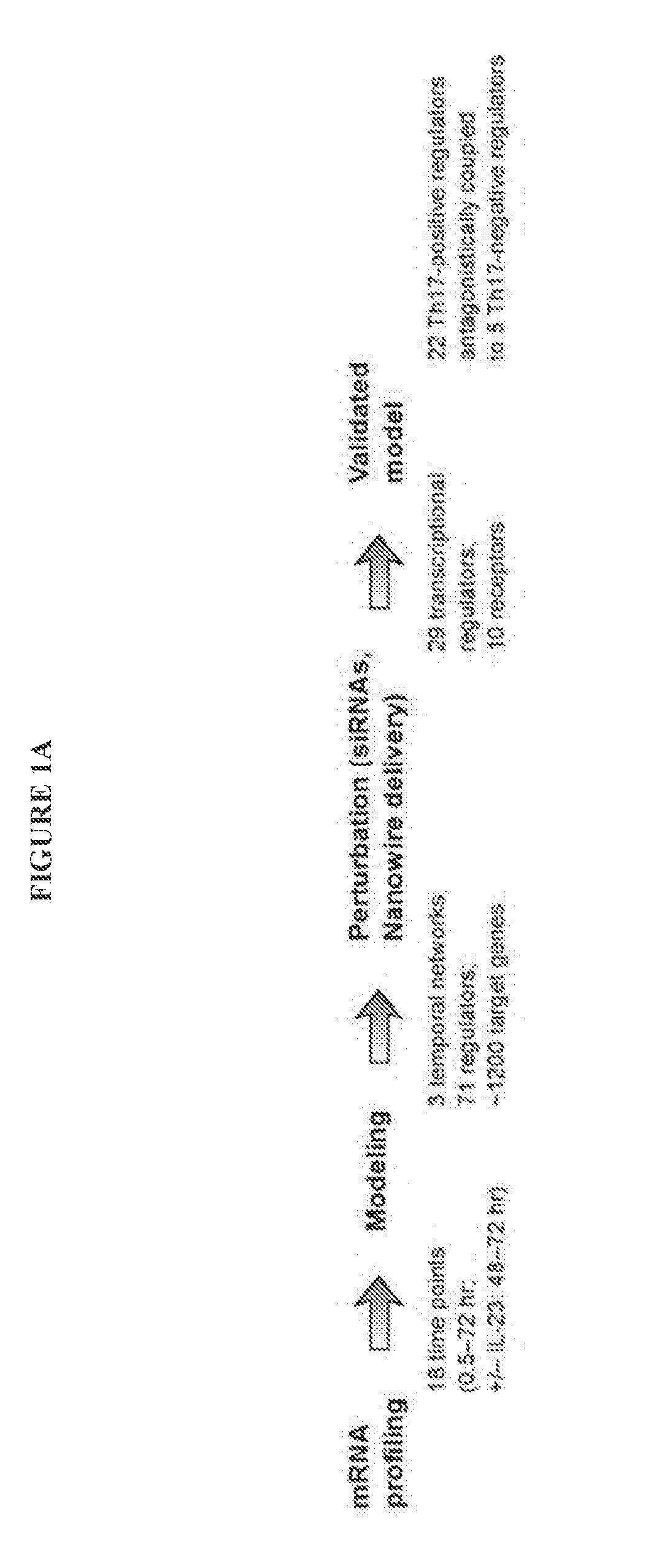
Mad me more softly 『DTMP http』
(税込) 送料込み
商品の説明
ご覧いただきありがとうございます。 状態は目立った傷等なく、綺麗なままです。 #Srv.Vinci #KingGnu #トーキョーカオティック #キングヌー millennium parade キングヌー King Gnu Srv.vinci ミレニアムパレード ミレパ
商品の情報
| カテゴリー | 本・音楽・ゲーム > CD > 邦楽 |
|---|---|
| 商品の状態 | 未使用に近い |
![[Full Album] Srv. Vinci - Mad Me More Softly](https://i.ytimg.com/vi/7Rqs8LUY1aA/maxresdefault.jpg)
[Full Album] Srv. Vinci - Mad Me More Softly

Mad me more softly 『DTMP http』 | www.unimac.az

安い割引 『Mad me more softly』DTMP http ar-sports.com

Srv.Vinci Full Album「Mad me more softly」Teaser

Mad me more softly 『DTMP http』 | www.unimac.az

Mad me more softly 『DTMP http』 | witchesandcowboys.com

srv.vinci Mad me more softly DTMP http: cutacut.com

Mannequin - Daiki Tsuneta Millennium Parade (DTMP) - YouTube
![Daiki Tsuneta Millennium Parade (Dtmp) - Http:// [Japan CD] APLS-1608](https://m.media-amazon.com/images/I/61lEFkEk-lL._UF350,350_QL50_.jpg)
Daiki Tsuneta Millennium Parade (Dtmp) - Http:// [Japan CD] APLS-1608
通常 1本タイプ キングヌー Mad me more softly トーキョー

正規通販 Mad Daiki me Tsuneta more Parade softly Millennium 『DTMP

Mad Me More Softly 『DTMP Http』 邦楽 | endageism.com

Daiki Tsuneta Millennium Parade | energysource.com.br

2022新作『Mad me more softly』DTMP http 邦楽 | vivirycrear.edu.co

Mannequin - Daiki Tsuneta Millennium Parade (DTMP) - YouTube

Mad Me More Softly 『DTMP Http』 邦楽 | endageism.com
2023年最新】DTMPの人気アイテム - メルカリ

売り切り御免!】 King Gnu Srv.Vinci 常田大希Daiki http:// 邦楽

正規通販 Mad Daiki me Tsuneta more Parade softly Millennium 『DTMP

品質検査済 Mad me more softly 『DTMP http』 邦楽 - ciat.or.th

2022新作『Mad me more softly』DTMP http 邦楽 | vivirycrear.edu.co

価格は安く softly』DTMP King more Gnu me Srv.Vinci Mad 常田大希
![Daiki Tsuneta Millennium Parade - WWW [MAD] - YouTube](https://i.ytimg.com/vi/_bzdjQFck1Y/sddefault.jpg)
Daiki Tsuneta Millennium Parade - WWW [MAD] - YouTube

SALE/103%OFF】『Mad me more softly』『http: 』 邦楽 | hh2.hu

品質検査済 Mad me more softly 『DTMP http』 邦楽 - ciat.or.th
![Daiki Tsuneta Millennium Parade - WWW [MAD] - YouTube](https://i.ytimg.com/vi/G0Sh4dkTDZg/hq720.jpg)
Daiki Tsuneta Millennium Parade - WWW [MAD] - YouTube

Srv.Vinci Mad me more King Gnu http:// 新作商品 www.nandoonline.com

Molecules | Free Full-Text | Transport Oligonucleotides—A Novel
![Daiki Tsuneta Millennium Parade - WWW [MAD] - YouTube](https://i.ytimg.com/vi/UDLBsdVGyNs/sddefault.jpg)
Daiki Tsuneta Millennium Parade - WWW [MAD] - YouTube

2022新作『Mad me more softly』DTMP http 邦楽 | vivirycrear.edu.co

うのにもお得な情報満載! Mad me 2枚 softly more 邦楽 - education

Mannequin - Daiki Tsuneta Millennium Parade (DTMP) - YouTube

Frontiers | Evidence for an Independent Hydrogenosome-to-Mitosome

Mad me more softly 『DTMP http』 レコレクション 本・音楽・ゲーム

Mad me more softly』DTMP http 有名な高級ブランド glaznoydoc.ru

Mad Me More Softly 『DTMP Http』 邦楽 | endageism.com

予約販売 King http:// Daiki 常田大希 Srv.Vinci Gnu 邦楽
Mad Me More Softly 『DTMP Http』 邦楽 | endageism.com
![Prodrug Forms of N-[(4-Deoxy-4-amino-10-methyl)pteroyl]glutamate-γ](https://pubs.acs.org/cms/10.1021/jm050871p/asset/images/large/jm050871pn00001.jpeg)
Prodrug Forms of N-[(4-Deoxy-4-amino-10-methyl)pteroyl]glutamate-γ
Srv.Vinci - Mad me more softly


商品の情報
メルカリ安心への取り組み
お金は事務局に支払われ、評価後に振り込まれます
出品者
スピード発送
この出品者は平均24時間以内に発送しています














